变压器合闸涌流的产生及剩磁对其的影响?
2023-07-12 KWZK
变压器励磁涌流的抑制技术及变压器低压侧并联电容法
2023-05-18 万搏体育在线注册,万搏体育(中国)
常见的变压器励磁涌流的抑制技术有哪些?
2023-05-17 万搏体育在线注册,万搏体育(中国)
核电站出现变压器励磁涌流会有什么影响?
2023-04-28 万搏体育在线注册,万搏体育(中国)
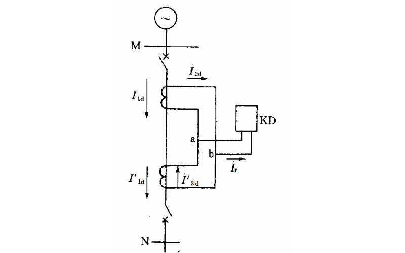
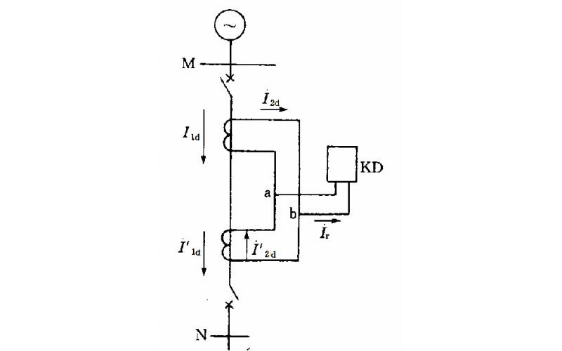
发电机的主要继电保护都有啥?
2023-04-26 万搏体育在线注册,万搏体育(中国)
电力变压器的保护配置知识分享
2023-04-20 万搏体育在线注册,万搏体育(中国)
电力变压器的保护配置
2023-03-27 万搏体育在线注册,万搏体育(中国)