新闻动态
万搏体育在线注册,万搏体育(中国)
万搏体育在线注册,万搏体育(中国)
关于我们
公司简介
在线反馈
联系我们
产品展示
全部
传感器/变送器
流量计系列
液位/料位系列
阀门/执行装置
液压/气动元件
检维修工器具
化验/分析仪器
其他机电仪产品
新闻动态
全部
行业知识
企业新闻
资料下载
客户案例
新闻动态
推荐
热门
最新
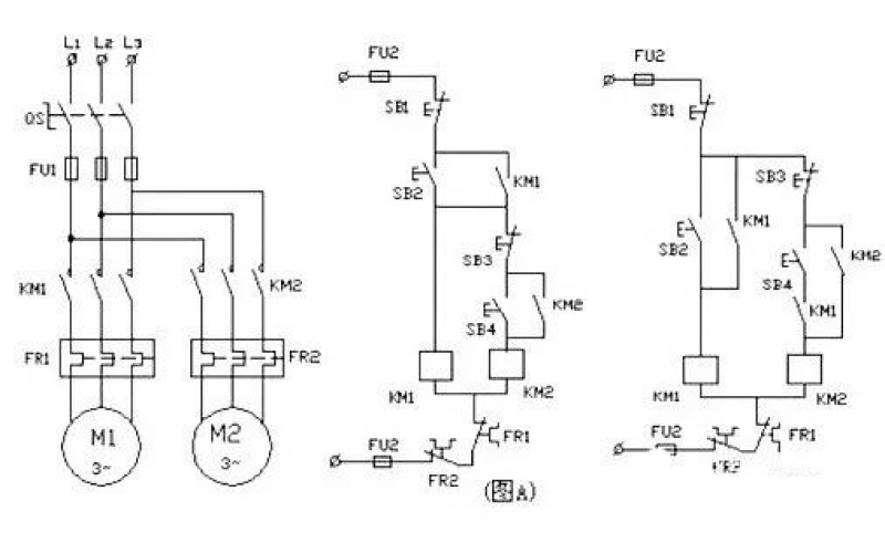
电动机控制线路故障查找方法
电动机控制线路故障查找方法
2023-02-06
万搏体育在线注册,万搏体育(中国)
上一页
1
下一页
转至第
首页
产品
新闻
联系
千亿在线平台
|
云博在线平台
|
安博体育在线注册
|
乐动网页版登录入口
|
米兰体育在线注册
|
乐投体育在线注册
|
万搏网页版登录入口
|
乐鱼在线平台
|